主队
{{bifen.left.score}}
{{bifen.period_cn}}
{{bifen.right.score}}
{{el | ennode}}
主队 {{bifen.left.scores[$index]}}
客队 {{bifen.right.scores[$index]}}

客队

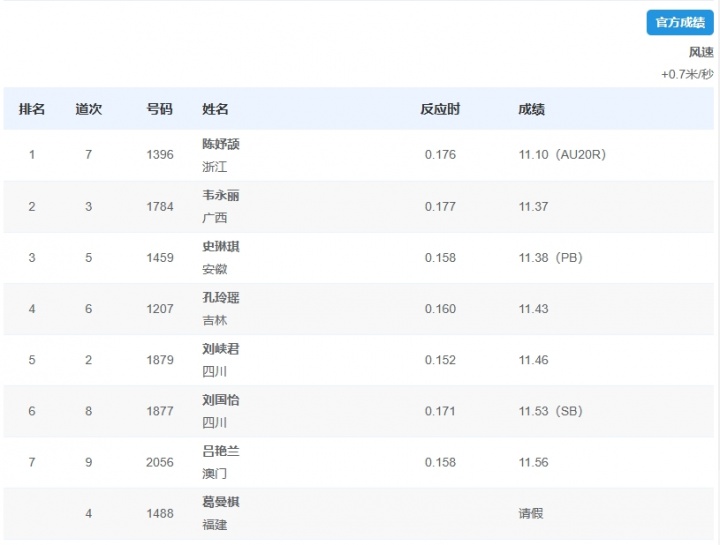
破亚洲青年纪录!16岁陈妤颉11秒10夺女子100米金牌,韦永丽银牌

全运会资讯
2025-11-17 21:15:03 {{info|html}} {{advert|html}}

直播吧11月17日讯 全运会女子100米决赛,16岁的浙江小将陈妤颉以11秒10夺得金牌,刷新亚洲青年纪录,老将韦永丽11秒37银牌,史琳琪11秒38铜牌。

未满17岁的陈妤颉也成为了全运会历史上最年轻的女子100米冠军选手。

注:葛曼棋半决赛受伤,决赛退赛

反馈举报