直播吧8月20日讯 游戏科学公布黑神话IP第二部作品《黑神话钟馗》,主创冯骥、杨奇分别发博谈及关新作诞生的心路历程。
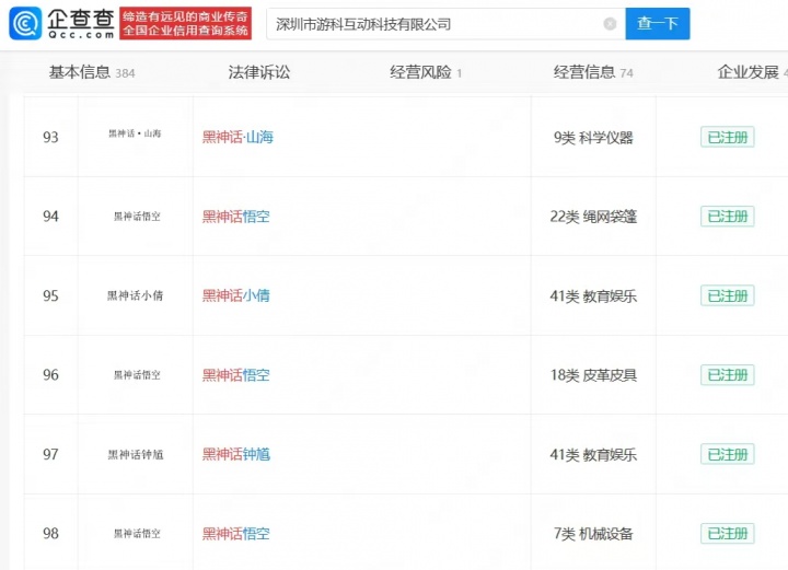
企查查APP显示,游戏科学即深圳市游科互动科技有限公司已注册多枚黑神话系列商标,包括黑神话山海、黑神话姜子牙、黑神话钟馗、黑神话搜神等。



直播吧8月20日讯 游戏科学公布黑神话IP第二部作品《黑神话钟馗》,主创冯骥、杨奇分别发博谈及关新作诞生的心路历程。
企查查APP显示,游戏科学即深圳市游科互动科技有限公司已注册多枚黑神话系列商标,包括黑神话山海、黑神话姜子牙、黑神话钟馗、黑神话搜神等。


